型 號:EKB型
規 格:100~1000kg
公司名稱:日本鷹牌EAGLE CLAMP
保質周期:12
價 格(≤ 1) ¥電議 /臺
優惠價格(≥ 5):電議


鷹牌EKB型混凝土吊具特點:
●鷹牌EKB型混凝土夾鉗重量輕,夾緊能力強,七個匯總吊起;
●EKB型飾面塊吊裝專用夾鉗附帶釋放裝置,自動緊固能力強,安全系數5倍以上;
●鷹牌EKB型混凝土夾鉗附帶夾緊配件,防止吊裝時脫落,確保吊裝安全性。

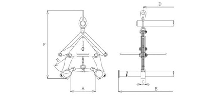
鷹牌EKB型混凝土夾鉗尺寸圖:

鷹牌EKB型混凝土夾鉗參數:
| 型號 | 使用載荷kg | 尺寸mm | 自重kg | |||||
| A | B | C | D | E | F | |||
| EKB-1000 | 100~1000 | 110~220 | 160 | 36 | 1500 | 2120 | 570~730 | 60 |
注:由于產品不斷改良,當外形與參數變更時,均以實物為主,想要了解更多產品詳情可電話聯系我們.

鷹牌EKB型混凝土夾鉗屬于日本EAGLE CLAMP鷹牌原裝進口的產品,保質12個月(易損件除外)。凡客戶從我公司訂購此品牌產品,如收到貨物時發現有假貨、仿貨,均以貨值100倍金額賠償。